图片来源于网络,如有侵权,请联系删除(原标题:国内首款eSIM手机即将发售 多家公司早有布局相关业务) 图片来源于网络,如有侵权,请联系删除 近日,苹果公司CEO蒂姆·库克宣布,国行iPhone Air手机将于10月22日正式发售。iPhone Air是一款完全取消了实体SIM卡槽的手机,是...
图片来源于网络,如有侵权,请联系删除今日(10月20日)A股三大指数均反弹,上证指数涨0.63%,深证成指涨0.98%,创业板指涨1.98%。市场全天成交额1.75万亿元,较前一交易日缩量超2000亿元;收盘上涨个股超4000只,其中收盘股价涨停的有96只。 盘面上,煤炭开采加工概念领涨,板块内陕...
图片来源于网络,如有侵权,请联系删除海澜之家携A股上市以来累计分红超210亿元光环冲刺港股,但财务报表中的裂痕正不断扩大。 业绩上,其多年营收呈“微增”与“下滑”交替态势,2025年上半年营收微增1.73%,但净利润下降3.1%,主品牌收入连降,团购定制与其他品牌收入体量小且成本高,海外营收占比则...
图片来源于网络,如有侵权,请联系删除 每经记者|黄婉银 每经实习记者 李旭馗 每经编辑|袁东 |2025年10月21日 星期二|图片来源于网络,如有侵权,请联系删除 NO.1 金添动漫递表港交所 据港交所10月20日消息,广东金添动漫股份有限公司(以下简称“金添动漫”...
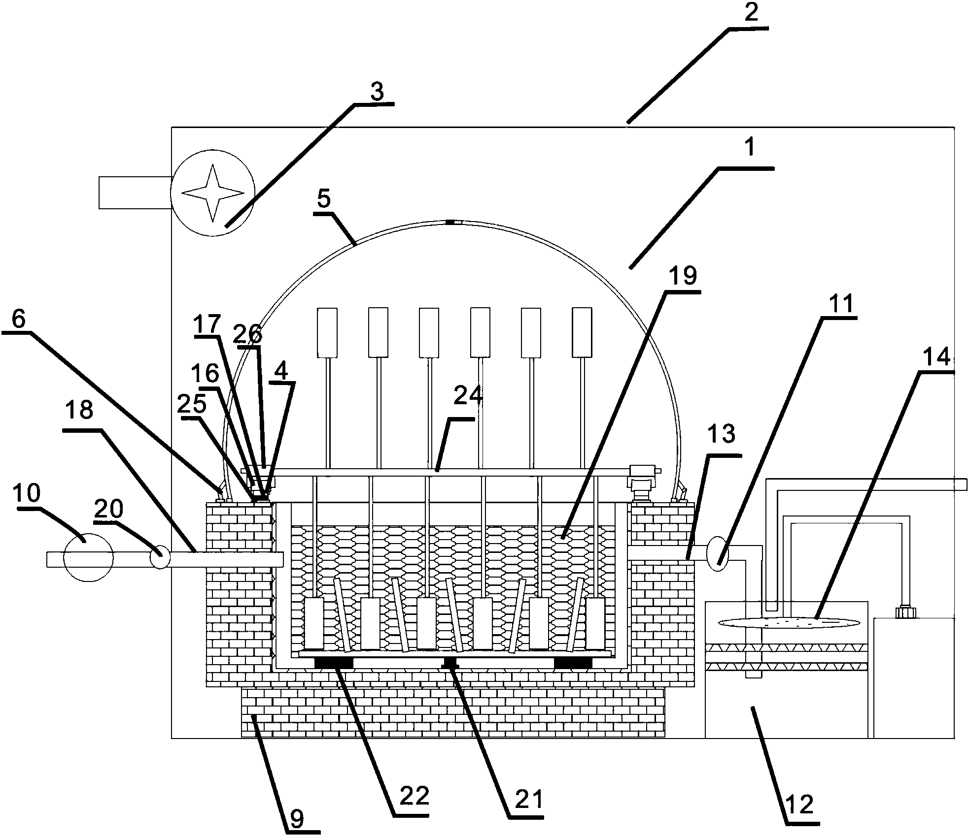
证券之星消息,根据天眼查APP数据显示中简科技(300777)新获得一项实用新型专利授权,专利名为“一种PAN基碳纤维干喷湿纺纺丝上油辅助装置”,专利申请号为CN202422983820.9,授权日为2025年10月21日。 专利摘要:本实用新型公开了一种PAN基碳纤维干喷湿纺纺丝上油辅助装置,...
图片来源于网络,如有侵权,请联系删除证券之星消息,根据天眼查APP数据显示美的集团(000333)新获得一项外观设计专利授权,专利名为“洗地机主体及洗地机”,专利申请号为CN202530123145.X,授权日为2025年10月21日。 专利摘要:1.本外观设计产品的名称:洗地机主体及洗地机。2...
图片来源于网络,如有侵权,请联系删除证券之星消息,根据天眼查APP数据显示杭可科技(688006)新获得一项实用新型专利授权,专利名为“一种淹没式灭火充放电设备”,专利申请号为CN202422793631.5,授权日为2025年10月21日。 专利摘要:一种淹没式灭火充放电设备,包含若干用于电池...
图片来源于网络,如有侵权,请联系删除人民财讯10月21日电,10月20日,国际数据公司(IDC)发布报告显示,2025上半年,全球智能眼镜(AI眼镜)市场出货量达406.5万台,同比增长64.2%。 据证券时报·数据宝统计,AI眼镜概念股中,今年前三季度融资资金净买入额超过10亿元的有12只个股,...
图片来源于网络,如有侵权,请联系删除 集中债券借贷业务近日正式上线,为间债券市场注入新的流动性动能,同时也提供新的“稳定锚”。首批70余家金融机构积极参与,首日融券池规模突破1.3万亿元。 这项由中央结算公司与全国银行间同业拆借中心联合推出的业务,是银行间债券市场基础设施建设的重要创新,有助...
图片来源于网络,如有侵权,请联系删除 ■记者观察 债市机制优化大年:从市场运行到规则共建的考量图片来源于网络,如有侵权,请联系删除 境外机构债券回购交易正式启动,集中债券借贷业务上线运行,“北向互换通”延长至30年期利率互换并引入1年期LPR(贷款市场报价利率)参考利率合约……今年以来...