图片来源于网络,如有侵权,请联系删除证券之星消息,根据天眼查APP数据显示苏博特(603916)新获得一项发明专利授权,专利名为“一种基于rGO气凝胶负载过渡金属碳化物的吸波涂料及其制备方法与应用”,专利申请号为CN202510376927.3,授权日为2025年8月8日。 专利摘要:一种基于r...
图片来源于网络,如有侵权,请联系删除证券之星消息,根据天眼查APP数据显示华帝股份(002035)新获得一项发明专利授权,专利名为“一种内火盖及具有其的燃烧器”,专利申请号为CN202211604531.2,授权日为2025年8月8日。 专利摘要:本发明公开了一种内火盖及其燃烧器,内火盖具有内环...
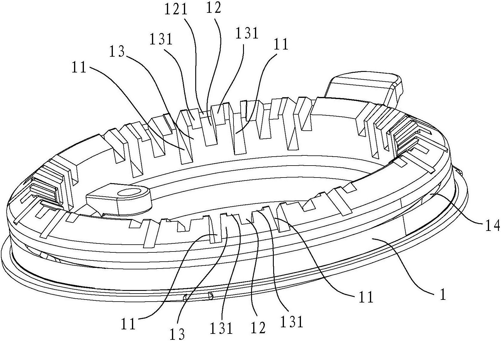
图片来源于网络,如有侵权,请联系删除证券之星消息,根据天眼查APP数据显示华帝股份(002035)新获得一项发明专利授权,专利名为“一种三环火燃烧器”,专利申请号为CN202211604550.5,授权日为2025年8月8日。 专利摘要:本发明公开了一种三环火燃烧器,包括:燃烧器本体,具有沿径向...
图片来源于网络,如有侵权,请联系删除证券之星消息,根据天眼查APP数据显示华帝股份(002035)新获得一项发明专利授权,专利名为“气阀固定结构”,专利申请号为CN202011278957.4,授权日为2025年8月8日。 专利摘要:本发明公开了一种气阀固定结构,该气阀固定结构用于灶具,包括进气...
图片来源于网络,如有侵权,请联系删除证券之星消息,根据天眼查APP数据显示海尔智家(600690)新获得一项发明专利授权,专利名为“用于除湿的装置”,专利申请号为CN202110606578.1,授权日为2025年8月8日。 专利摘要:本申请涉及湿度调节技术领域,公开一种用于除湿的装置,包括:壳...
图片来源于网络,如有侵权,请联系删除证券之星消息,根据天眼查APP数据显示润和软件(300339)新获得一项发明专利授权,专利名为“基于分布式的唯一类型数据供数方法”,专利申请号为CN202211023554.4,授权日为2025年8月8日。 专利摘要:本发明提供一种基于分布式的唯一类型数据供数...
图片来源于网络,如有侵权,请联系删除证券之星消息,根据天眼查APP数据显示抚顺特钢(600399)新获得一项发明专利授权,专利名为“超高强度C250超大规格真空自耗钢锭的制备方法”,专利申请号为CN202411350898.5,授权日为2025年8月8日。 专利摘要:本申请涉及金属材料制造的技术...
图片来源于网络,如有侵权,请联系删除证券之星消息,根据天眼查APP数据显示工商银行(601398)新获得一项发明专利授权,专利名为“核账规则提取方法、装置、设备、存储介质和程序产品”,专利申请号为CN202210517456.X,授权日为2025年8月8日。 专利摘要:本公开提供了一种核账规则提...
图片来源于网络,如有侵权,请联系删除证券之星消息,根据天眼查APP数据显示大华股份(002236)新获得一项发明专利授权,专利名为“一种白平衡调整方法、装置、设备及介质”,专利申请号为CN202211721145.1,授权日为2025年8月8日。 专利摘要:本申请公开了一种白平衡调整方法、装置、...
图片来源于网络,如有侵权,请联系删除证券之星消息,根据天眼查APP数据显示金风科技(002202)新获得一项发明专利授权,专利名为“风力发电机组的变桨控制方法及变桨控制器”,专利申请号为CN202111361348.X,授权日为2025年8月8日。 专利摘要:公开了一种风力发电机组的变桨控制方法...