图片来源于网络,如有侵权,请联系删除证券之星消息,根据天眼查APP数据显示中国电研(688128)新获得一项外观设计专利授权,专利名为“波轮洗衣机(YDD)”,专利申请号为CN202430789255.5,授权日为2025年8月8日。 专利摘要:1.本外观设计产品的名称:波轮洗衣机(YDD)。2...
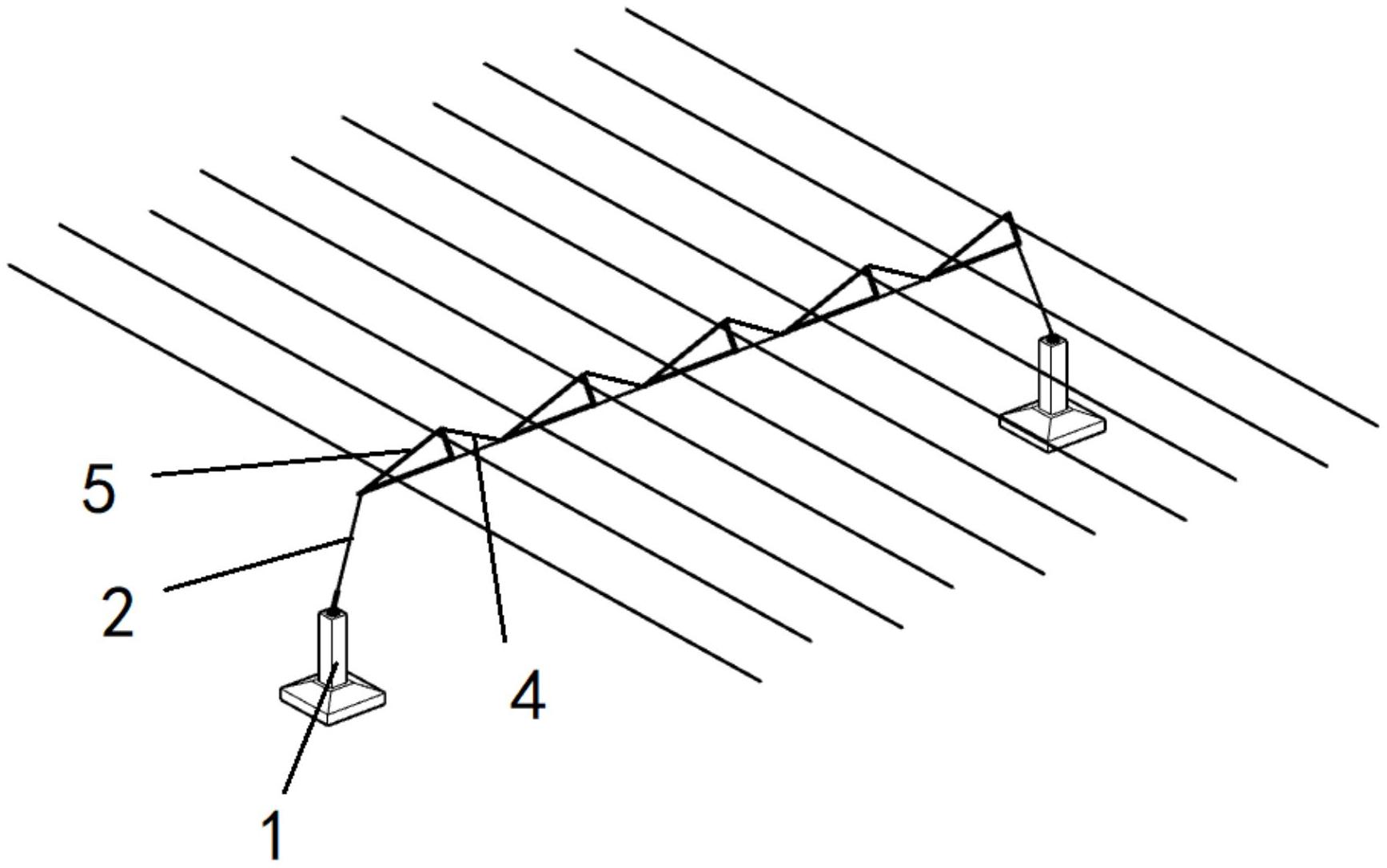
图片来源于网络,如有侵权,请联系删除证券之星消息,根据天眼查APP数据显示天合光能(688599)新获得一项实用新型专利授权,专利名为“用于支撑光伏组件的支架组件以及光伏系统”,专利申请号为CN202421838046.6,授权日为2025年8月8日。 专利摘要:本实用新型涉及光伏技术领域,具体...
图片来源于网络,如有侵权,请联系删除证券之星消息,根据天眼查APP数据显示永艺股份(603600)新获得一项实用新型专利授权,专利名为“一种美观的桌子”,专利申请号为CN202421977390.3,授权日为2025年8月8日。 专利摘要:本实用新型公开了一种美观的桌子,包括桌板,支撑架和装饰件...
图片来源于网络,如有侵权,请联系删除证券之星消息,根据天眼查APP数据显示鼎智科技(873593)新获得一项实用新型专利授权,专利名为“转子铁芯结构和轴向电机”,专利申请号为CN202422212725.9,授权日为2025年8月8日。 专利摘要:本实用新型提供一种转子铁芯结构,包括:转子盖;转...
图片来源于网络,如有侵权,请联系删除证券之星消息,根据天眼查APP数据显示格力电器(000651)新获得一项实用新型专利授权,专利名为“电器盒及空调器”,专利申请号为CN202422325253.8,授权日为2025年8月8日。 专利摘要:本申请涉及一种电器盒及空调器,电器盒包括发热元件,电器盒...
图片来源于网络,如有侵权,请联系删除证券之星消息,根据天眼查APP数据显示亿纬锂能(300014)新获得一项实用新型专利授权,专利名为“一种电池箱以及电池包”,专利申请号为CN202421520504.1,授权日为2025年8月8日。 专利摘要:本实用新型提供一种电池箱以及电池包,电池箱包括电气...
图片来源于网络,如有侵权,请联系删除证券之星消息,根据天眼查APP数据显示中国电研(688128)新获得一项外观设计专利授权,专利名为“波轮洗衣机面框(PGWM-A)”,专利申请号为CN202430789250.2,授权日为2025年8月8日。 专利摘要:1.本外观设计产品的名称:波轮洗衣机面框...
图片来源于网络,如有侵权,请联系删除证券之星消息,根据天眼查APP数据显示宇通客车(600066)新获得一项实用新型专利授权,专利名为“一种汽车管线路布置结构以及客车”,专利申请号为CN202422453758.2,授权日为2025年8月8日。 专利摘要:本实用新型提供一种汽车管线路布置结构以及...
图片来源于网络,如有侵权,请联系删除 8月7日,中国殡葬行业龙头福寿园国际集团有限公司(01448.HK)以0.3%的微弱涨幅站稳3.3港元,收于3.31港元,总市值77亿港元。8月5日晚间,福寿园发布上市以来首次盈利预亏公告,翌日跳空低开,当日跌幅9.09%,收于3.3港元。 福寿园盈利预...
图片来源于网络,如有侵权,请联系删除证券之星消息,根据天眼查APP数据显示亚太股份(002284)新获得一项实用新型专利授权,专利名为“一种用于检测电源管理芯片驱动能力大小的装置”,专利申请号为CN202421505708.8,授权日为2025年8月8日。 专利摘要:本实用新型公开了一种用于检测...