格力博获得发明专利授权:“驱动结构及具有该驱动结构的自动行走设备”
2025年05月24日 | 浏览量:67608

图片来源于网络,如有侵权,请联系删除
证券之星消息,根据天眼查APP数据显示格力博(301260)新获得一项发明专利授权,专利名为“驱动结构及具有该驱动结构的自动行走设备”,专利申请号为CN202011415056.5,授权日为2025年5月23日。
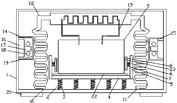
专利摘要:本发明提供了一种驱动结构及具有该驱动结构的自动行走设备,所述自动行走设备包括设备本体、安装在所述设备本体上以驱动所述设备本体行走的驱动结构,所述驱动结构包括动力输出模组、及可被所述动力输出模组输出的动力驱动以带动所述自动行走设备行走的行走轮,所述动力输出模组包括驱动轴及设置在所述驱动轴上的驱动齿轮,所述行走轮包括轮毂,所述轮毂的内侧设有内齿,所述驱动齿轮的齿数少于所述内齿的齿数,所述驱动齿轮直接与所述内齿啮合以驱动所述行走轮转动。相较于现有技术,本发明的自动行走设备的驱动结构利用驱动齿轮直接与内齿啮合,来驱动行走轮转动,具有零件较少、结构简单、成本较低的优点。

图片来源于网络,如有侵权,请联系删除
今年以来格力博新获得专利授权44个,较去年同期减少了63.33%。结合公司2024年年报财务数据,2024年公司在研发方面投入了2.18亿元,同比减2.03%。
数据来源:天眼查APP
以上内容为证券之星据公开信息整理,由AI算法生成(网信算备310104345710301240019号),不构成投资建议。
本文来源:财富导航网
本文地址:https://www.sintedes.com/post/27067.html
关注我们:微信搜索“xiaoqihvlove”添加我为好友
版权声明:如无特别注明,转载请注明本文地址!
- •科大讯飞获得外观设计专利授权:“机器人”
- •中国石化获得发明专利授权:“一种植物性高强度自降解隔离暂堵剂及其制备与使用方法”
- •金陵饭店(601007.SH):董事长毕金标辞职
- •长江电力获得发明专利授权:“一种船舶航行信息校验方法及装置”
- •南网能源:截至2025年11月28日持有人数为101,088
- •【ESG动态】深水海纳(300961.SZ)获华证指数ESG最新评级C,行业排名第159
- •比亚迪获得实用新型专利授权:“定子组件及电机、车辆”
- •英维克获得外观设计专利授权:“机房空调”
- •ST云动获得实用新型专利授权:“一种燃料电池储能调峰装置及系统”
- •亿纬锂能获得实用新型专利授权:“汇流盘、电芯及电池”

