大富科技获得实用新型专利授权:“滤波器”
2025年06月03日 | 浏览量:71068

图片来源于网络,如有侵权,请联系删除
证券之星消息,根据天眼查APP数据显示大富科技(300134)新获得一项实用新型专利授权,专利名为“滤波器”,专利申请号为CN202421713362.0,授权日为2025年6月3日。
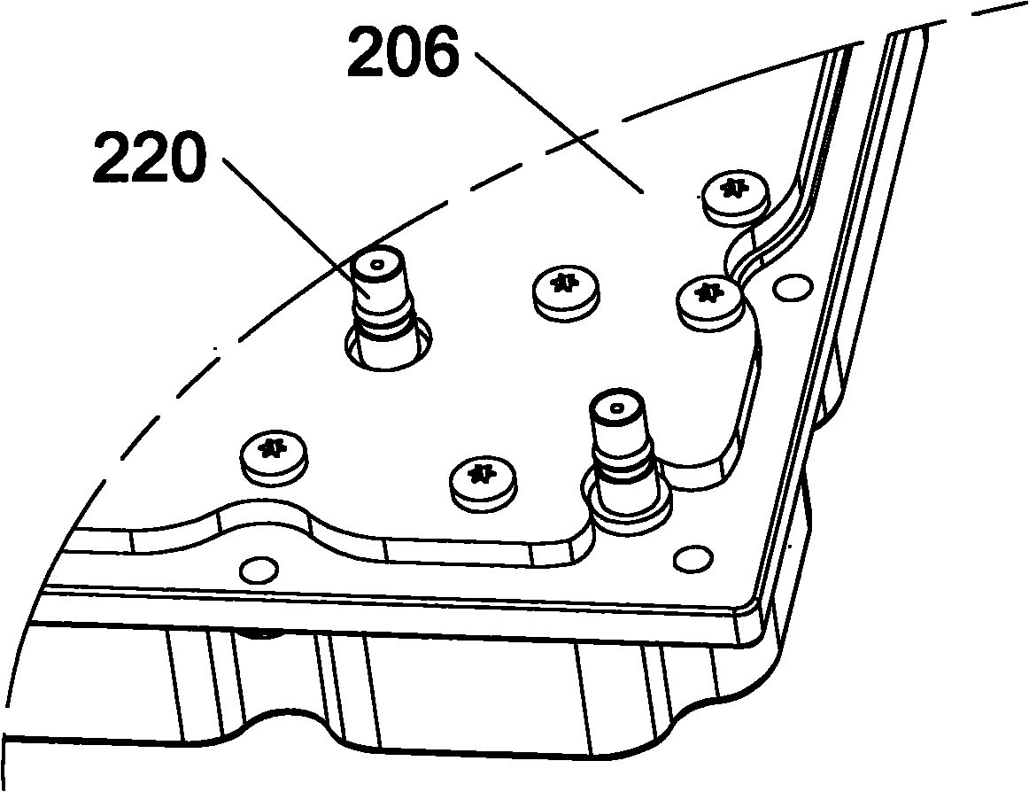
专利摘要:本申请涉及通信领域,提供一种滤波器,滤波器包括信号传输端和抽头结构,信号传输端具有内导体;抽头结构具有第一端,第一端对位设置于内导体的端侧;内导体与第一端二者中的其中之一设有插接部,二者中的另外之一设有插接筒,插接部与插接筒插接配合并耦合连接。基于上述结构,可经由插接部与插接筒之间的插接配合和耦合连接,而实现内导体与抽头结构之间的耦合连接。基于此,插接部与插接筒之间无需设置焊点,插接部的外周面与插接筒的内筒壁之间的耦合面积较大,从而可降低因焊点易开裂、脱落而导致内导体与抽头结构之间的耦合连接失效的风险,可提高抽头结构与内导体之间的耦合可靠性,可提高滤波器的使用性能、使用可靠性和使用寿命。

图片来源于网络,如有侵权,请联系删除
今年以来大富科技新获得专利授权52个,较去年同期增加了40.54%。结合公司2024年年报财务数据,2024年公司在研发方面投入了2.66亿元,同比减0.09%。
数据来源:天眼查APP
以上内容为证券之星据公开信息整理,由AI算法生成(网信算备310104345710301240019号),不构成投资建议。
本文来源:财富导航网
本文地址:https://www.sintedes.com/post/27763.html
关注我们:微信搜索“xiaoqihvlove”添加我为好友
版权声明:如无特别注明,转载请注明本文地址!
- •科大讯飞获得外观设计专利授权:“机器人”
- •中国石化获得发明专利授权:“一种植物性高强度自降解隔离暂堵剂及其制备与使用方法”
- •金陵饭店(601007.SH):董事长毕金标辞职
- •长江电力获得发明专利授权:“一种船舶航行信息校验方法及装置”
- •南网能源:截至2025年11月28日持有人数为101,088
- •【ESG动态】深水海纳(300961.SZ)获华证指数ESG最新评级C,行业排名第159
- •比亚迪获得实用新型专利授权:“定子组件及电机、车辆”
- •英维克获得外观设计专利授权:“机房空调”
- •ST云动获得实用新型专利授权:“一种燃料电池储能调峰装置及系统”
- •亿纬锂能获得实用新型专利授权:“汇流盘、电芯及电池”

