宁德时代获得实用新型专利授权:“涂布烘箱装置和电池生产系统”
2025年06月06日 | 浏览量:65792

图片来源于网络,如有侵权,请联系删除
证券之星消息,根据天眼查APP数据显示宁德时代(300750)新获得一项实用新型专利授权,专利名为“涂布烘箱装置和电池生产系统”,专利申请号为CN202520484936.X,授权日为2025年6月6日。
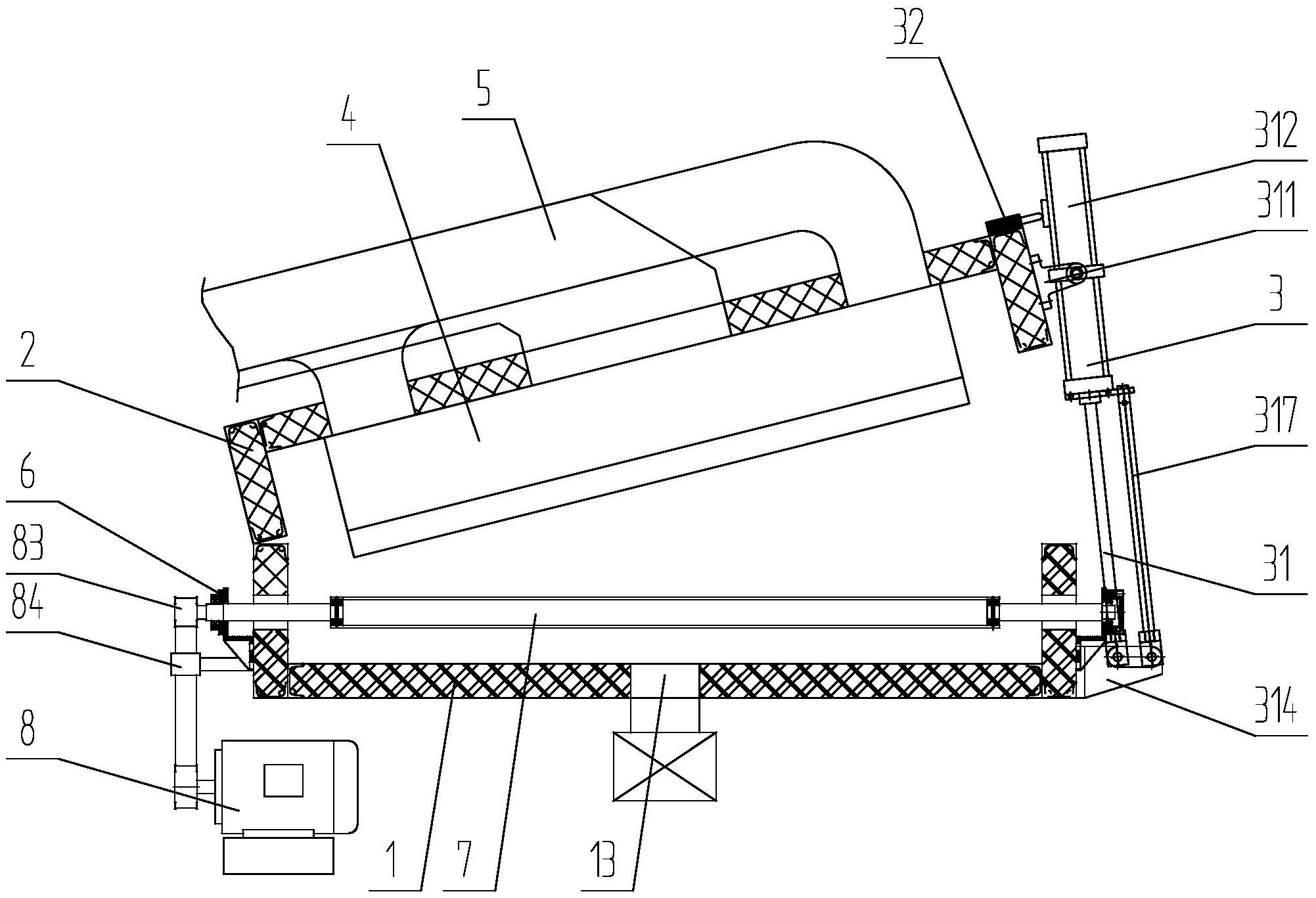
专利摘要:本申请提供了一种涂布烘箱装置和电池生产系统,其中,涂布烘箱装置包括箱体和第一风机,所述第一风机少部分设置于所述箱体内;其中,所述第一风机为无扇叶第一风机;所述第一风机包括电机、磁力轮、鼓风组件和无叶风扇;所述磁力轮与所述电机连接;所述鼓风组件通过所述磁力轮与所述电机连接;所述无叶风扇与所述鼓风组件连通;其中,所述鼓风组件用于向所述无叶风扇鼓风。通过这样的方式,通过磁力轮的设置,磁力轮可以做到无接触传动,与采用联轴器传动的相关技术相比,本实施例可以减少摩擦可能会产生火花从而引发爆炸的风险。

图片来源于网络,如有侵权,请联系删除
今年以来宁德时代新获得专利授权1974个,较去年同期增加了30.99%。结合公司2024年年报财务数据,2024年公司在研发方面投入了186.07亿元,同比增1.37%。
数据来源:天眼查APP
以上内容为证券之星据公开信息整理,由AI算法生成(网信算备310104345710301240019号),不构成投资建议。
本文来源:财富导航网
本文地址:https://www.sintedes.com/post/27994.html
关注我们:微信搜索“xiaoqihvlove”添加我为好友
版权声明:如无特别注明,转载请注明本文地址!
- •科大讯飞获得外观设计专利授权:“机器人”
- •中国石化获得发明专利授权:“一种植物性高强度自降解隔离暂堵剂及其制备与使用方法”
- •金陵饭店(601007.SH):董事长毕金标辞职
- •长江电力获得发明专利授权:“一种船舶航行信息校验方法及装置”
- •南网能源:截至2025年11月28日持有人数为101,088
- •【ESG动态】深水海纳(300961.SZ)获华证指数ESG最新评级C,行业排名第159
- •比亚迪获得实用新型专利授权:“定子组件及电机、车辆”
- •英维克获得外观设计专利授权:“机房空调”
- •ST云动获得实用新型专利授权:“一种燃料电池储能调峰装置及系统”
- •亿纬锂能获得实用新型专利授权:“汇流盘、电芯及电池”

