华自科技获得实用新型专利授权:“一种储能变流升压装置”
2025年06月27日 | 浏览量:66546

图片来源于网络,如有侵权,请联系删除
证券之星消息,根据天眼查APP数据显示华自科技(300490)新获得一项实用新型专利授权,专利名为“一种储能变流升压装置”,专利申请号为CN202421375186.4,授权日为2025年6月27日。
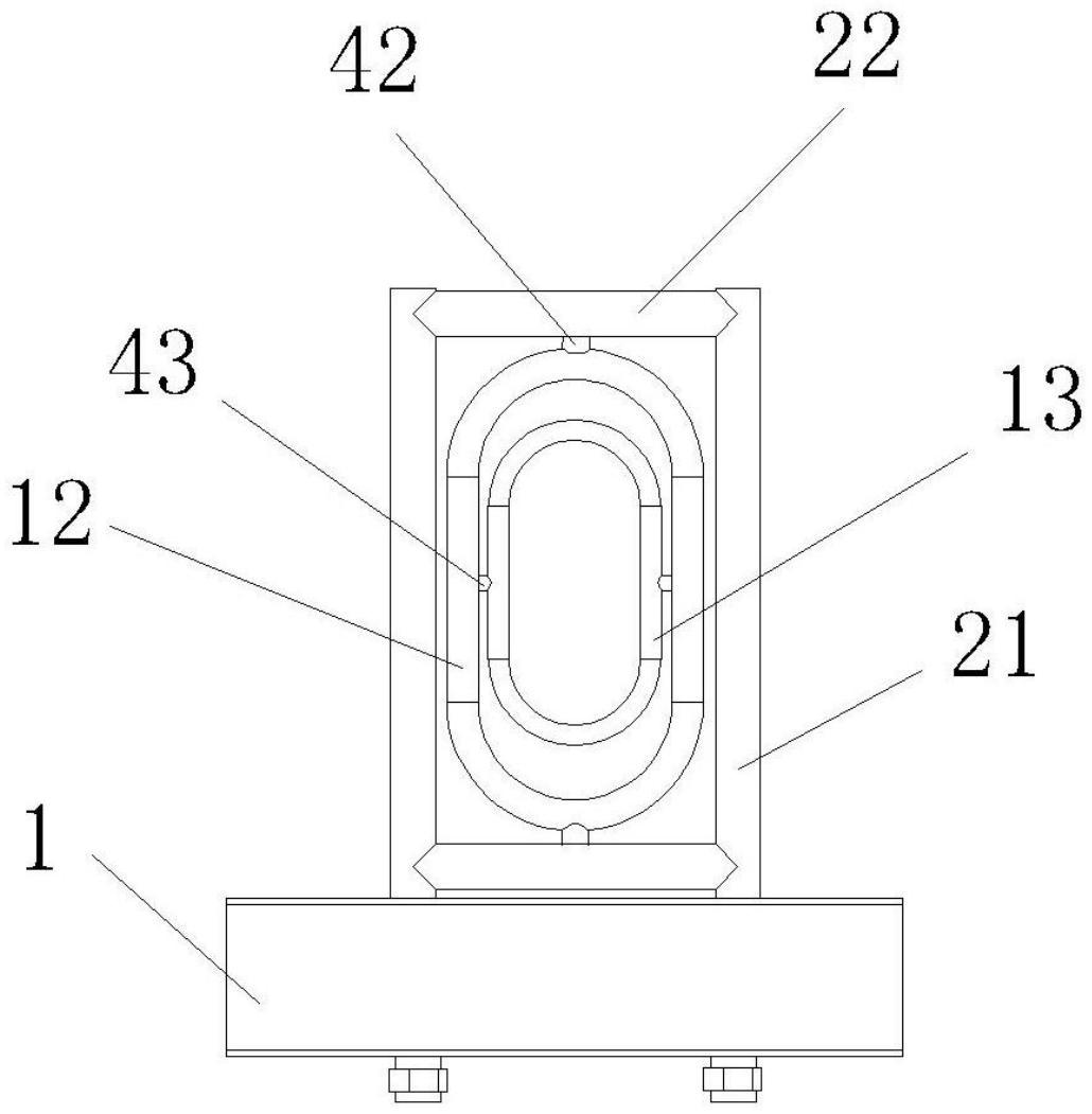
专利摘要:本申请提供一种储能变流升压装置,涉及储能技术领域,所述装置包括:箱体底座,设置于箱体底座上的高压室、变压器室和储能变流器模组;高压室内安装有高压柜和监控柜;变压器室内安装有变压器;高压柜、变压器以及储能变流器模组依次连接;监控柜与储能变流器连接;变压器室的第一侧板设置有双层门,外侧安装有变压器室门,内侧安装有变压器网门;变压器室门以及第一侧板的下部,均设有进风百叶窗;变压器室的第二侧板的顶部设置有风机和风机罩,第一侧板和第二侧板相对设置。本申请能够有效保障储能变流升压装置内变压器的散热效果。

图片来源于网络,如有侵权,请联系删除
今年以来华自科技新获得专利授权12个,较去年同期增加了71.43%。结合公司2024年年报财务数据,2024年公司在研发方面投入了1.67亿元,同比减3.01%。
通过天眼查大数据分析,华自科技股份有限公司共对外投资了7家企业,参与招投标项目2570次;财产线索方面有商标信息89条,专利信息383条,著作权信息128条;此外企业还拥有行政许可8个。
数据来源:天眼查APP
以上内容为证券之星据公开信息整理,由AI算法生成(网信算备310104345710301240019号),不构成投资建议。
本文来源:财富导航网
本文地址:https://www.sintedes.com/post/29604.html
关注我们:微信搜索“xiaoqihvlove”添加我为好友
版权声明:如无特别注明,转载请注明本文地址!
- •科大讯飞获得外观设计专利授权:“机器人”
- •中国石化获得发明专利授权:“一种植物性高强度自降解隔离暂堵剂及其制备与使用方法”
- •金陵饭店(601007.SH):董事长毕金标辞职
- •长江电力获得发明专利授权:“一种船舶航行信息校验方法及装置”
- •南网能源:截至2025年11月28日持有人数为101,088
- •【ESG动态】深水海纳(300961.SZ)获华证指数ESG最新评级C,行业排名第159
- •比亚迪获得实用新型专利授权:“定子组件及电机、车辆”
- •英维克获得外观设计专利授权:“机房空调”
- •ST云动获得实用新型专利授权:“一种燃料电池储能调峰装置及系统”
- •亿纬锂能获得实用新型专利授权:“汇流盘、电芯及电池”

