大族数控获得实用新型专利授权:“上下料装置”
2025年06月27日 | 浏览量:71701

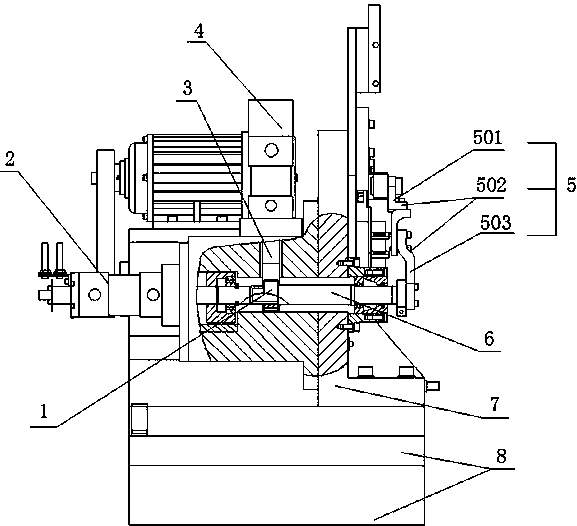
图片来源于网络,如有侵权,请联系删除
证券之星消息,根据天眼查APP数据显示大族数控(301200)新获得一项实用新型专利授权,专利名为“上下料装置”,专利申请号为CN202422045508.5,授权日为2025年6月27日。
专利摘要:本实用新型属于PCB板上下料技术领域,涉及一种上下料装置。该上下料装置包括上料机构、下料机构、搬运机构以及载料机构,载料机构用于承载物料;搬运机构包括车体以及输送组件,车体上设置有料台,料台用于承载载料机构;料台上设置有输送组件,输送组件用于沿第一方向将其所在的料台上的载料机构输送至上料机构,或用于将载料机构沿第一方向由下料机构输送至其所在的料台上;上料机构用于将载料机构上的未测试的物料取出以供测试;下料机构用于将完成测试的物料放置在载料机构上。该上下料装置可减少搬运时间及机台停机时间。

图片来源于网络,如有侵权,请联系删除
今年以来大族数控新获得专利授权111个,较去年同期增加了33.73%。结合公司2024年年报财务数据,2024年公司在研发方面投入了2.67亿元,同比增37.85%。
通过天眼查大数据分析,深圳市大族数控科技股份有限公司共对外投资了8家企业,参与招投标项目115次;财产线索方面有商标信息59条,专利信息1304条,著作权信息203条;此外企业还拥有行政许可26个。
数据来源:天眼查APP
以上内容为证券之星据公开信息整理,由AI算法生成(网信算备310104345710301240019号),不构成投资建议。
本文来源:财富导航网
本文地址:https://www.sintedes.com/post/29627.html
关注我们:微信搜索“xiaoqihvlove”添加我为好友
版权声明:如无特别注明,转载请注明本文地址!
- •科大讯飞获得外观设计专利授权:“机器人”
- •中国石化获得发明专利授权:“一种植物性高强度自降解隔离暂堵剂及其制备与使用方法”
- •金陵饭店(601007.SH):董事长毕金标辞职
- •长江电力获得发明专利授权:“一种船舶航行信息校验方法及装置”
- •南网能源:截至2025年11月28日持有人数为101,088
- •【ESG动态】深水海纳(300961.SZ)获华证指数ESG最新评级C,行业排名第159
- •比亚迪获得实用新型专利授权:“定子组件及电机、车辆”
- •英维克获得外观设计专利授权:“机房空调”
- •ST云动获得实用新型专利授权:“一种燃料电池储能调峰装置及系统”
- •亿纬锂能获得实用新型专利授权:“汇流盘、电芯及电池”

