乐歌股份获得实用新型专利授权:“一种电动升降背推床架”
2025年07月01日 | 浏览量:61793

图片来源于网络,如有侵权,请联系删除
证券之星消息,根据天眼查APP数据显示乐歌股份(300729)新获得一项实用新型专利授权,专利名为“一种电动升降背推床架”,专利申请号为CN202422406756.8,授权日为2025年7月1日。
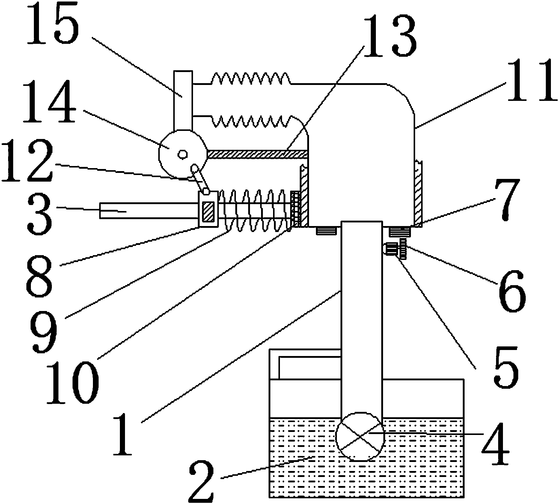
专利摘要:本实用新型公开一种电动升降背推床架,包括固定支架、活动支架以及线性致动器;固定支架具有沿电动升降背推床架宽度方向和/或长度方向设置的钣金件;至少一个连接件,连接件包括连接部及安装部,连接部沿钣金件的长度方向滑动连接在钣金件上;连接部沿长度方向依次设有两个支撑点,两个支撑点分别位于连接部的上下两侧且分别与钣金件相抵;在电动升降背推床架重力的作用下,连接部和钣金件之间通过两个支撑点以剪切的方式产生摩擦力进而保持位置锁止。该电动升降背推床架不仅能更好地适配不同宽度尺寸的现有床架围框,避免安装不到位缺陷,安全性好,而且安装操作简单、省力。

图片来源于网络,如有侵权,请联系删除
今年以来乐歌股份新获得专利授权103个,较去年同期增加了11.96%。结合公司2024年年报财务数据,2024年公司在研发方面投入了1.94亿元,同比增33.83%。
通过天眼查大数据分析,乐歌人体工学科技股份有限公司共对外投资了16家企业,参与招投标项目125次;财产线索方面有商标信息446条,专利信息2493条,著作权信息87条;此外企业还拥有行政许可28个。
数据来源:天眼查APP
以上内容为证券之星据公开信息整理,由AI算法生成(网信算备310104345710301240019号),不构成投资建议。
本文来源:财富导航网
本文地址:https://www.sintedes.com/post/29863.html
关注我们:微信搜索“xiaoqihvlove”添加我为好友
版权声明:如无特别注明,转载请注明本文地址!
- •科大讯飞获得外观设计专利授权:“机器人”
- •中国石化获得发明专利授权:“一种植物性高强度自降解隔离暂堵剂及其制备与使用方法”
- •金陵饭店(601007.SH):董事长毕金标辞职
- •长江电力获得发明专利授权:“一种船舶航行信息校验方法及装置”
- •南网能源:截至2025年11月28日持有人数为101,088
- •【ESG动态】深水海纳(300961.SZ)获华证指数ESG最新评级C,行业排名第159
- •比亚迪获得实用新型专利授权:“定子组件及电机、车辆”
- •英维克获得外观设计专利授权:“机房空调”
- •ST云动获得实用新型专利授权:“一种燃料电池储能调峰装置及系统”
- •亿纬锂能获得实用新型专利授权:“汇流盘、电芯及电池”

