楚天科技获得实用新型专利授权:“一种载具输送装置”
2025年07月01日 | 浏览量:62523

图片来源于网络,如有侵权,请联系删除
证券之星消息,根据天眼查APP数据显示楚天科技(300358)新获得一项实用新型专利授权,专利名为“一种载具输送装置”,专利申请号为CN202422284972.X,授权日为2025年7月1日。
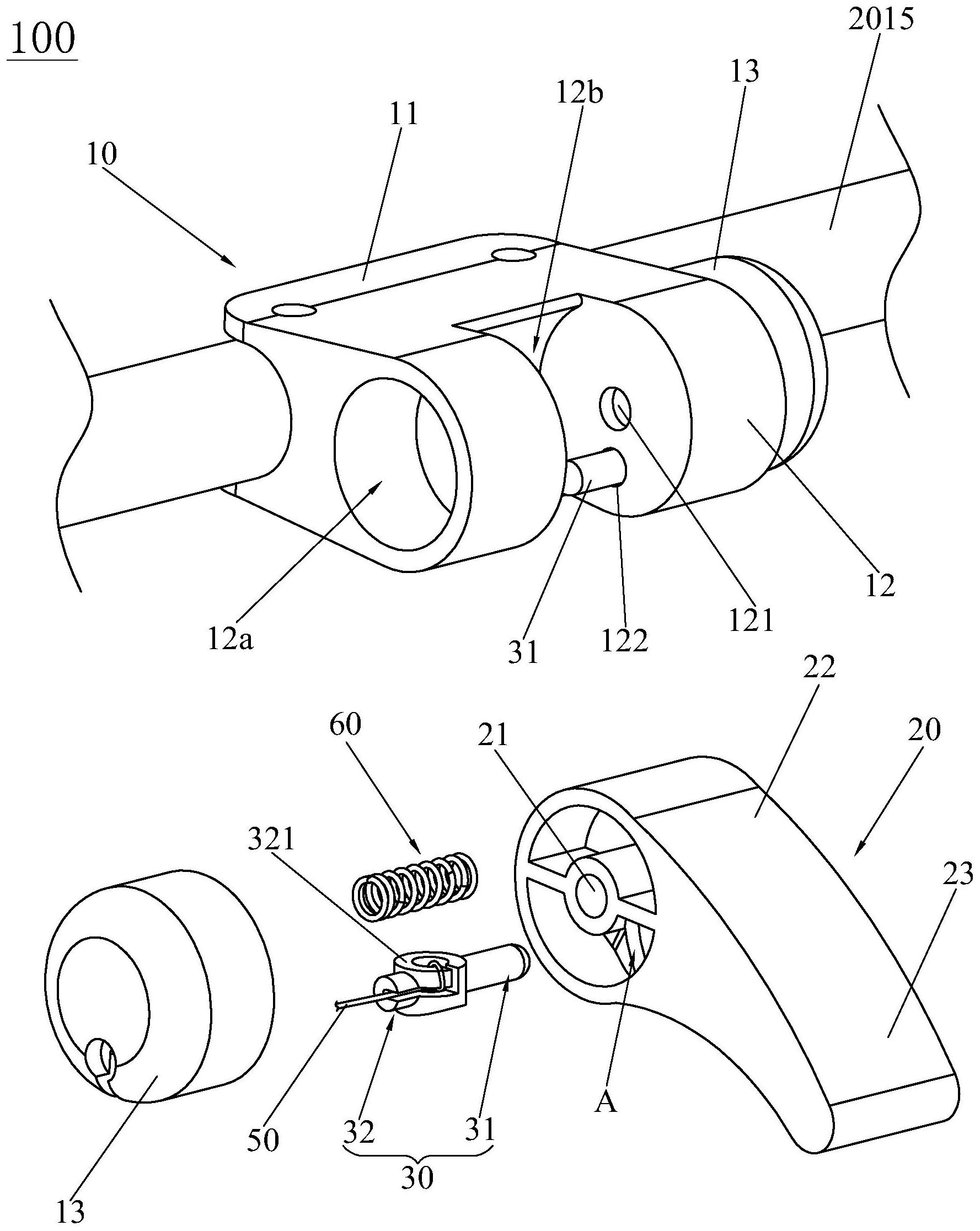
专利摘要:本实用新型公开了一种载具输送装置,包括第一载具输送机构、第二载具输送机构、第一回具区和第二回具区,第一载具输送机构和第二载具输送机构平行设置、并通过第一回具区和第二回具区连接形成载具循环回路,第一回具区设有第一载具定位机构和第一推送机构,第二回具区设有第二载具定位机构和第二推送机构,第一推送机构用于将第二载具输送机构上的成排载具向第一载具定位机构和第一载具输送机构方向推送,第二推送机构用于将第一载具输送机构上的成排载具向第二载具定位机构和第二载具输送机构方向推送。本载具输送装置具有满足排取料要求,避免取到缺料空载具,提高载具利用率等优点。

图片来源于网络,如有侵权,请联系删除
今年以来楚天科技新获得专利授权187个,较去年同期增加了43.85%。结合公司2024年年报财务数据,2024年公司在研发方面投入了6.25亿元,同比增6.41%。
通过天眼查大数据分析,楚天科技股份有限公司共对外投资了23家企业,参与招投标项目743次;财产线索方面有商标信息125条,专利信息4896条,著作权信息222条;此外企业还拥有行政许可245个。
数据来源:天眼查APP
以上内容为证券之星据公开信息整理,由AI算法生成(网信算备310104345710301240019号),不构成投资建议。
本文来源:财富导航网
本文地址:https://www.sintedes.com/post/29865.html
关注我们:微信搜索“xiaoqihvlove”添加我为好友
版权声明:如无特别注明,转载请注明本文地址!
- •科大讯飞获得外观设计专利授权:“机器人”
- •中国石化获得发明专利授权:“一种植物性高强度自降解隔离暂堵剂及其制备与使用方法”
- •金陵饭店(601007.SH):董事长毕金标辞职
- •长江电力获得发明专利授权:“一种船舶航行信息校验方法及装置”
- •南网能源:截至2025年11月28日持有人数为101,088
- •【ESG动态】深水海纳(300961.SZ)获华证指数ESG最新评级C,行业排名第159
- •比亚迪获得实用新型专利授权:“定子组件及电机、车辆”
- •英维克获得外观设计专利授权:“机房空调”
- •ST云动获得实用新型专利授权:“一种燃料电池储能调峰装置及系统”
- •亿纬锂能获得实用新型专利授权:“汇流盘、电芯及电池”

