长安汽车获得发明专利授权:“一种车门外水切安装机构、车门外水切总成以及车门”
2025年08月23日 | 浏览量:55872

图片来源于网络,如有侵权,请联系删除
证券之星消息,根据天眼查APP数据显示长安汽车(000625)新获得一项发明专利授权,专利名为“一种车门外水切安装机构、车门外水切总成以及车门”,专利申请号为CN202310603097.4,授权日为2025年8月22日。
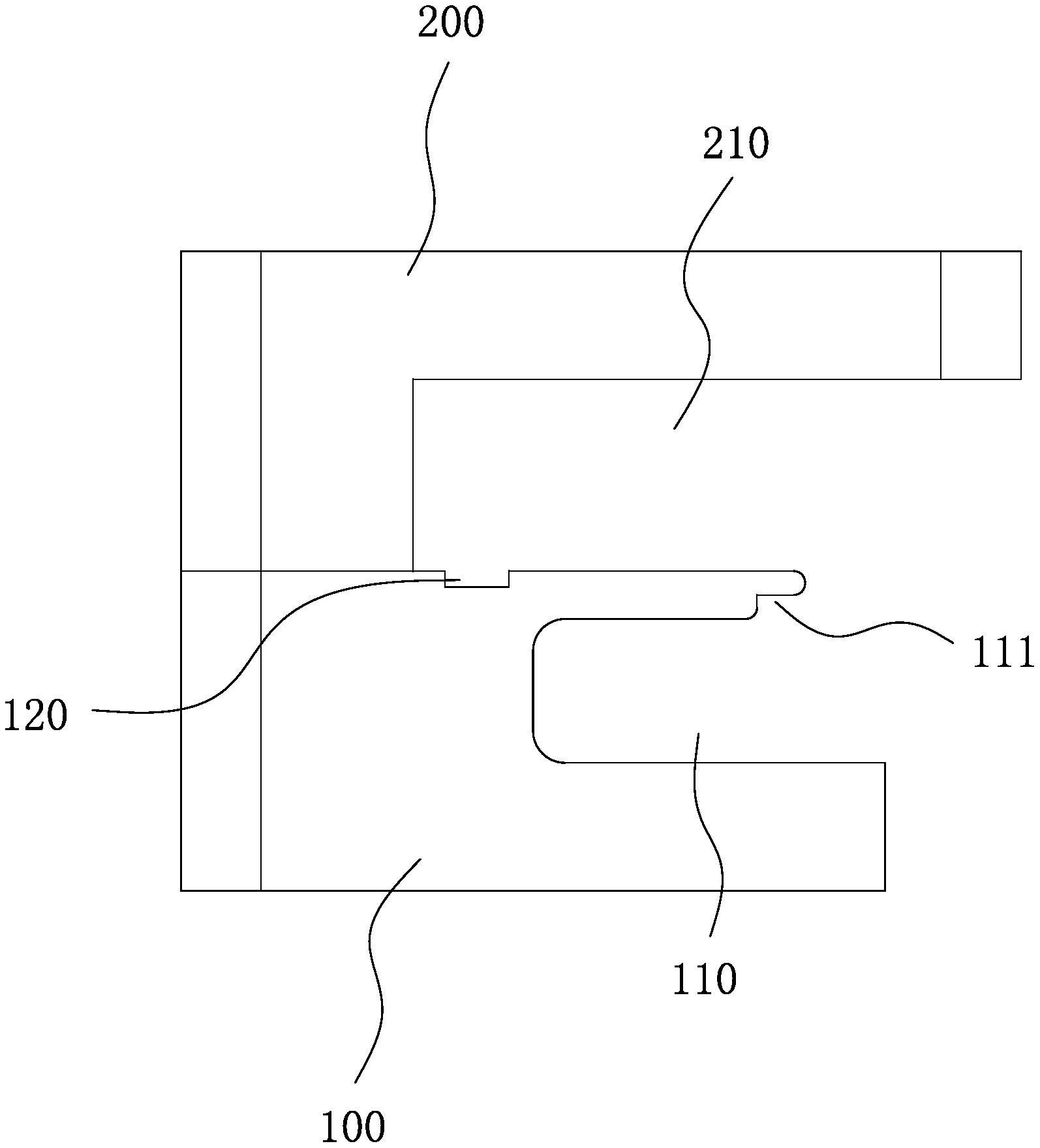
专利摘要:本发明涉及一种车门外水切安装机构、车门外水切总成以及车门,该车门外水切安装机构包括安装件主体,所述安装件主体上设置有能够与车门外板上的加强板卡接的第一卡接结构以及第二卡接结构,所述加强板上设置有与所述第一卡接结构相卡接的卡接口以及能够与所述第二卡接结构相抵接的抵接件。本发明涉及的车门外水切安装机构能够在不另外焊接其他零件来实现安装固定的前提下完成对车门外水切总成的安装固定,结构简单紧凑,便于安装,生产安装成本低,并且不会影响车门的整体美观性。

图片来源于网络,如有侵权,请联系删除
今年以来长安汽车新获得专利授权803个,较去年同期减少了37.36%。结合公司2025年中报财务数据,今年上半年公司在研发方面投入了32.84亿元,同比增12.76%。
数据来源:天眼查APP
以上内容为证券之星据公开信息整理,由AI算法生成(网信算备310104345710301240019号),不构成投资建议。
本文来源:财富导航网
本文地址:https://www.sintedes.com/post/33937.html
关注我们:微信搜索“xiaoqihvlove”添加我为好友
版权声明:如无特别注明,转载请注明本文地址!
- •科大讯飞获得外观设计专利授权:“机器人”
- •中国石化获得发明专利授权:“一种植物性高强度自降解隔离暂堵剂及其制备与使用方法”
- •金陵饭店(601007.SH):董事长毕金标辞职
- •长江电力获得发明专利授权:“一种船舶航行信息校验方法及装置”
- •南网能源:截至2025年11月28日持有人数为101,088
- •【ESG动态】深水海纳(300961.SZ)获华证指数ESG最新评级C,行业排名第159
- •比亚迪获得实用新型专利授权:“定子组件及电机、车辆”
- •英维克获得外观设计专利授权:“机房空调”
- •ST云动获得实用新型专利授权:“一种燃料电池储能调峰装置及系统”
- •亿纬锂能获得实用新型专利授权:“汇流盘、电芯及电池”

