孚能科技获得实用新型专利授权:“一种用于电池材料的裁切工装及试验装置”
2025年10月31日 | 浏览量:64960

图片来源于网络,如有侵权,请联系删除
证券之星消息,根据天眼查APP数据显示孚能科技(688567)新获得一项实用新型专利授权,专利名为“一种用于电池材料的裁切工装及试验装置”,专利申请号为CN202422710097.7,授权日为2025年10月31日。
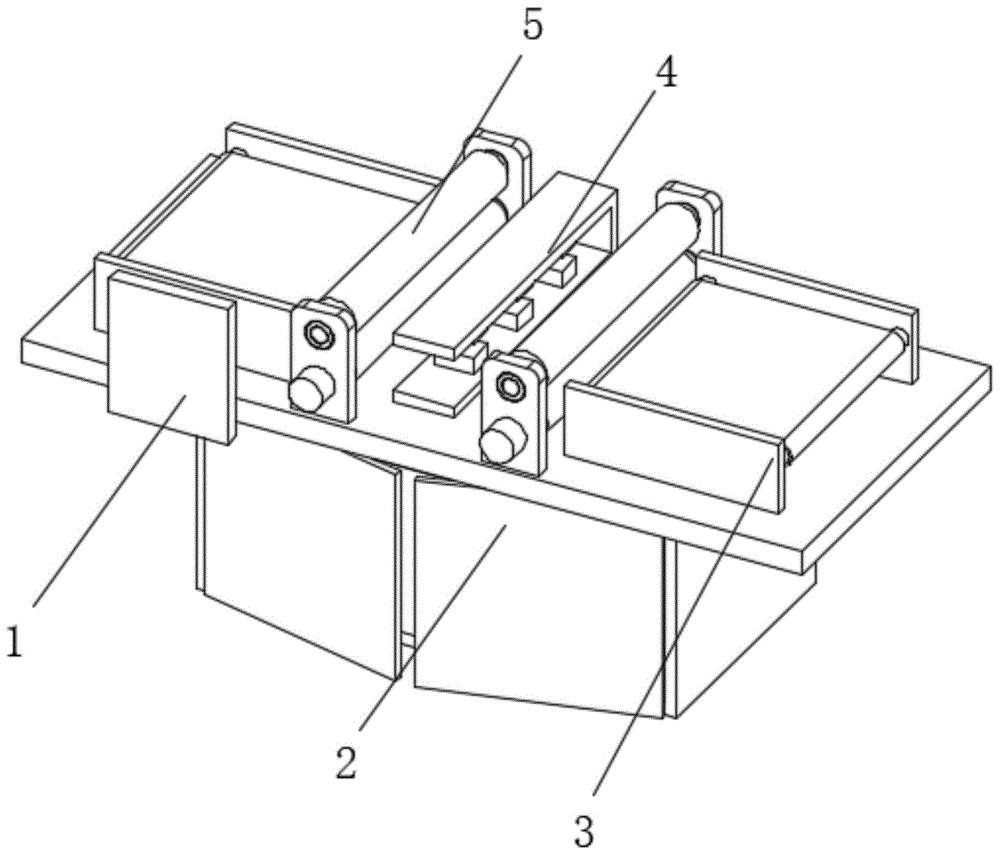
专利摘要:本实用新型公开了一种用于电池材料的裁切工装及试验装置,其中裁切工装包括:底板,用以放置电池材料;顶板,其固定设置在底板的上方,顶板上设置有手柄组件,手柄组件包括施力杆以及压头,施力杆可转动以带动压头沿高度方向滑动;刀模,其设置在压头与底板之间,压头可沿高度方向滑动以带动刀模裁切电池材料;其中,刀模活动设置在压头与底板之间,并被配置为能够以任意裁切角度裁切电池材料。本实用新型中,刀模活动设置在压头与底板之间,其能够被移动或转动至任意的裁切角度对电池材料进行裁切,从而获得不同方向的样品进行试验,以此即可测得电池材料在多个方向上的力学性能,测试结果更加完善。

图片来源于网络,如有侵权,请联系删除
今年以来孚能科技新获得专利授权135个,较去年同期增加了19.47%。结合公司2025年中报财务数据,今年上半年公司在研发方面投入了2.98亿元,同比减15.22%。
通过天眼查大数据分析,孚能科技(赣州)股份有限公司共对外投资了17家企业,参与招投标项目55次;财产线索方面有商标信息129条,专利信息708条,著作权信息2条;此外企业还拥有行政许可31个。
数据来源:天眼查APP
以上内容为证券之星据公开信息整理,由AI算法生成(网信算备310104345710301240019号),不构成投资建议。
本文来源:财富导航网
本文地址:https://www.sintedes.com/post/38080.html
关注我们:微信搜索“xiaoqihvlove”添加我为好友
版权声明:如无特别注明,转载请注明本文地址!
- •科大讯飞获得外观设计专利授权:“机器人”
- •中国石化获得发明专利授权:“一种植物性高强度自降解隔离暂堵剂及其制备与使用方法”
- •金陵饭店(601007.SH):董事长毕金标辞职
- •长江电力获得发明专利授权:“一种船舶航行信息校验方法及装置”
- •南网能源:截至2025年11月28日持有人数为101,088
- •【ESG动态】深水海纳(300961.SZ)获华证指数ESG最新评级C,行业排名第159
- •比亚迪获得实用新型专利授权:“定子组件及电机、车辆”
- •英维克获得外观设计专利授权:“机房空调”
- •ST云动获得实用新型专利授权:“一种燃料电池储能调峰装置及系统”
- •亿纬锂能获得实用新型专利授权:“汇流盘、电芯及电池”

