石头科技获得实用新型专利授权:“柔轮、谐波减速器、机械臂和清洁设备”
2026年02月13日 | 浏览量:69073

图片来源于网络,如有侵权,请联系删除
证券之星消息,根据天眼查APP数据显示石头科技(688169)新获得一项实用新型专利授权,专利名为“柔轮、谐波减速器、机械臂和清洁设备”,专利申请号为CN202520064302.9,授权日为2026年2月13日。
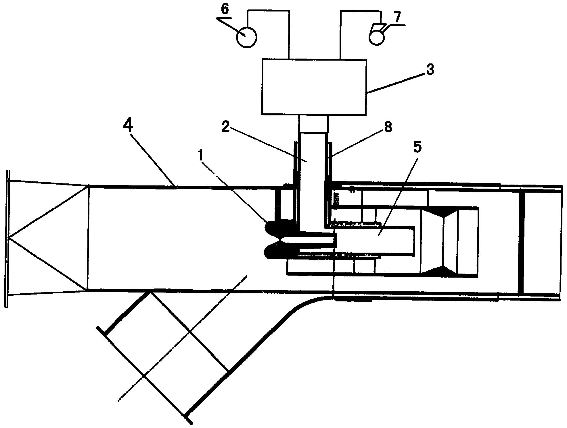
专利摘要:本申请提供了一种柔轮、谐波减速器、机械臂和清洁设备,柔轮注塑制成,柔轮包括动力输入部、腰部和动力输出部,腰部分别连接动力输入部和动力输出部,腰部的最小壁厚为0.2mm至3mm。通过采用注塑工艺制造柔轮,制造工艺简单高效,能够快速大批量生产柔轮。在减少加工工序的同时,也减少了所使用的加工设备,从而降低了制造成本,提高了生产效率。注塑时所用材料的重量通常较轻,进而减轻了柔轮的整体重量。当柔轮应用于谐波减速器中时,较轻的柔轮重量有助于实现谐波减速器的轻量化。通过将腰部最小壁厚设定在0.2mm至3mm之间,在保证柔轮结构强度的同时,有效减轻了柔轮重量。

图片来源于网络,如有侵权,请联系删除
今年以来石头科技新获得专利授权47个,较去年同期增加了38.24%。结合公司2025年中报财务数据,2025上半年公司在研发方面投入了6.85亿元,同比增67.28%。
通过天眼查大数据分析,北京石头世纪科技股份有限公司共对外投资了6家企业,参与招投标项目14次;财产线索方面有商标信息864条,专利信息1955条,著作权信息60条;此外企业还拥有行政许可13个。
数据来源:天眼查APP
以上内容为证券之星据公开信息整理,由AI算法生成(网信算备310104345710301240019号),不构成投资建议。
本文来源:财富导航网
本文地址:https://www.sintedes.com/post/44762.html
关注我们:微信搜索“xiaoqihvlove”添加我为好友
版权声明:如无特别注明,转载请注明本文地址!
- •科大讯飞获得外观设计专利授权:“机器人”
- •中国石化获得发明专利授权:“一种植物性高强度自降解隔离暂堵剂及其制备与使用方法”
- •金陵饭店(601007.SH):董事长毕金标辞职
- •长江电力获得发明专利授权:“一种船舶航行信息校验方法及装置”
- •南网能源:截至2025年11月28日持有人数为101,088
- •比亚迪获得实用新型专利授权:“定子组件及电机、车辆”
- •【ESG动态】深水海纳(300961.SZ)获华证指数ESG最新评级C,行业排名第159
- •ST云动获得实用新型专利授权:“一种燃料电池储能调峰装置及系统”
- •英维克获得外观设计专利授权:“机房空调”
- •亿纬锂能获得实用新型专利授权:“汇流盘、电芯及电池”

