大地电气获得实用新型专利授权:“一种汽车线束瞬断检测装置”
2025年08月15日 | 浏览量:49371

图片来源于网络,如有侵权,请联系删除
证券之星消息,根据天眼查APP数据显示大地电气(870436)新获得一项实用新型专利授权,专利名为“一种汽车线束瞬断检测装置”,专利申请号为CN202422389760.8,授权日为2025年8月15日。
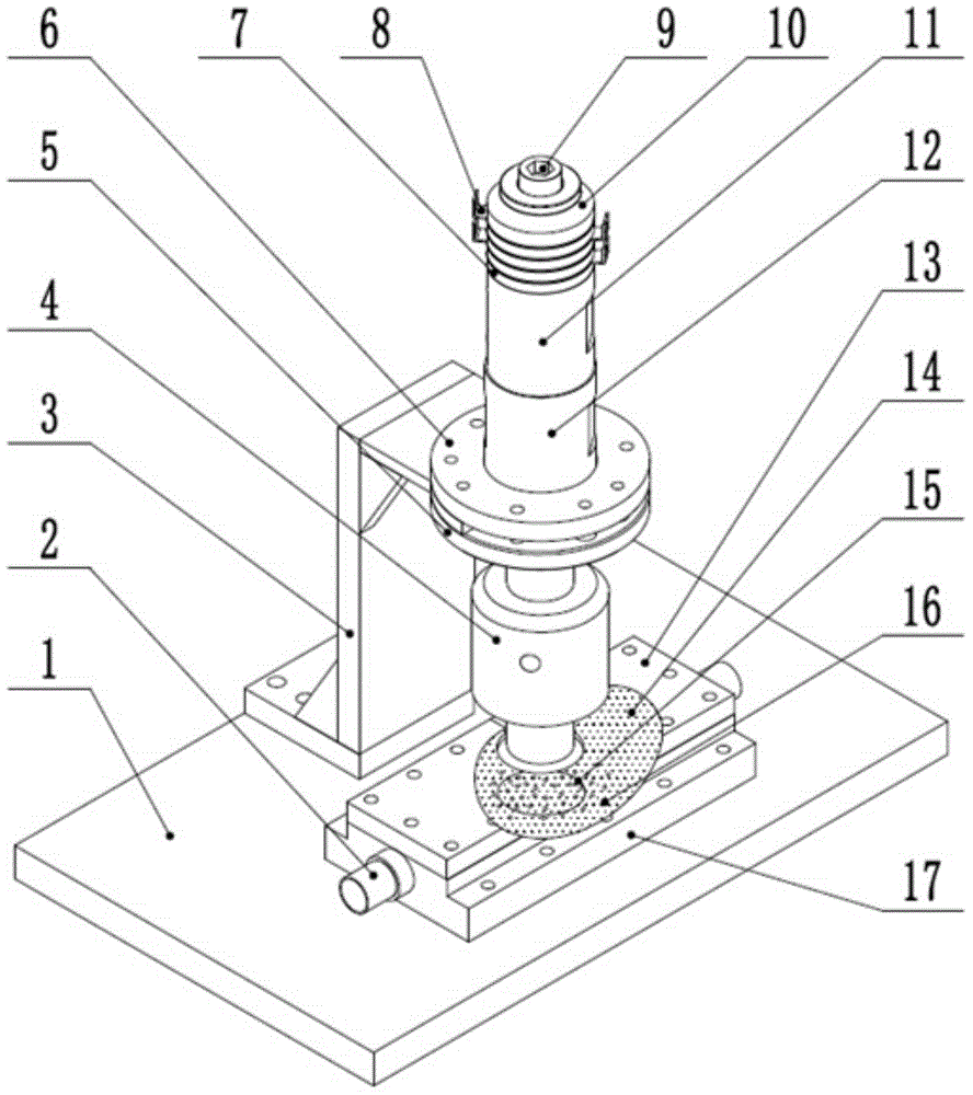
专利摘要:本实用新型涉及瞬断检测装置技术领域,具体涉及一种汽车线束瞬断检测装置,包括:瞬断仪、震动盘、对瞬断仪不使用时进行防护的防护机构、对瞬断仪放置时进行缓冲的缓冲机构;缓冲机构包括:固定安装在瞬断仪底部的固定管、活动安装在固定管内腔的吸盘、固定安装在固定管内壁上的固定杆、固定安装在固定杆一端的活塞。本实用新型中,通过缓冲机构的设置,一方面可对瞬断仪起到了缓冲保护的作用,避免了瞬断仪在搬动时,下降的速度过大,会增加其震动幅度,导致内部的零件损坏的问题;另一方面对瞬断仪起到了固定的作用,避免瞬断仪使用过程中发生滑动,提高了瞬断仪使用的稳定性。

图片来源于网络,如有侵权,请联系删除
今年以来大地电气新获得专利授权8个,较去年同期增加了300%。结合公司2024年年报财务数据,2024年公司在研发方面投入了5636.99万元,同比增1.11%。
通过天眼查大数据分析,南通大地电气股份有限公司共对外投资了13家企业,参与招投标项目22次;财产线索方面有商标信息4条,专利信息117条,著作权信息1条;此外企业还拥有行政许可27个。
数据来源:天眼查APP
以上内容为证券之星据公开信息整理,由AI算法生成(网信算备310104345710301240019号),不构成投资建议。
本文来源:财富导航网
本文地址:https://www.sintedes.com/post/33292.html
关注我们:微信搜索“xiaoqihvlove”添加我为好友
版权声明:如无特别注明,转载请注明本文地址!
- •科大讯飞获得外观设计专利授权:“机器人”
- •中国石化获得发明专利授权:“一种植物性高强度自降解隔离暂堵剂及其制备与使用方法”
- •金陵饭店(601007.SH):董事长毕金标辞职
- •长江电力获得发明专利授权:“一种船舶航行信息校验方法及装置”
- •南网能源:截至2025年11月28日持有人数为101,088
- •【ESG动态】深水海纳(300961.SZ)获华证指数ESG最新评级C,行业排名第159
- •比亚迪获得实用新型专利授权:“定子组件及电机、车辆”
- •英维克获得外观设计专利授权:“机房空调”
- •ST云动获得实用新型专利授权:“一种燃料电池储能调峰装置及系统”
- •亿纬锂能获得实用新型专利授权:“汇流盘、电芯及电池”

